Семь историй о «Волге»

Семь историй о «Волге»

56 лет назад с конвейера Горьковского автозавода сошла первая 21-я «Волга» — автомобиль, ставший культовым в СССР и постсоветской России. Мы собрали семь интересных фактов о легендарной машине. Люксовый хром «Волга» выпускалась в двух вариантах оформления: обычном и улучшенном. Последнее в водительской среде называлось «люксовый хром». На первой
Россияне считают ОСАГО полезной услугой

Россияне считают ОСАГО полезной услугой

Правила регистрации автомобилей упростились и стали более удобными для их владельцев. Теперь, по мнению россиян, нужно максимально упростить и «приблизить к людям» процедуру страхования личного автотранспорта и выплат по системе обязательного страхования гражданской ответственности (ОСАГО). Такую позицию, как показал опрос Всероссийского центра
Современный болид F1 примерил цвета былых легенд

Современный болид F1 примерил цвета былых легенд

Мэтт Хэмил из студии Escape Artist решил доказать, что «раньше было лучше», примерив на современный болид F1 цвета былых легенд. Ему удалось охватить все эпохи: начиная от идеи Колина Чепмена красить болиды в цвета спонсоров, заканчивая желто-черным Jordan, превращенным в свирепую акулу. Какой из них вам пришелся по нраву больше остальных? Что вы
Навигация «Хонды» начала показывать российские пробки

Навигация «Хонды» начала показывать российские пробки

Компания Honda Motor Rus начала сотрудничество с компанией «HERE» (подразделение Nokia). Теперь, штатные навигационные системы Honda будут работать совместно с сервисом Navteq Traffic, что позволит владельцам автомобилей получать актуальную информацию о ситуации на дорогах. Воспользоваться всеми преимуществами Navteq Traffic смогут владельцы
Чечня освободила своих водителей от транспортного налога

Чечня освободила своих водителей от транспортного налога

Чеченские депутаты отменили нулевую ставку транспортного налога на легковые автомобили мощностью до 150 лошадиных сил. Но только для юридических лиц. Частники в республике продолжают платить символичную сумму даже за самые мощные машины. Чеченские налоговики этим летом попросили парламент поднять транспортный налог: в республике он самый низкий.
Екатеринбург догнал Москву по размеру автомобильных пробок

Екатеринбург догнал Москву по размеру автомобильных пробок

Сервис «Яндекс.Пробки» проанализировал загруженность дорог в восьми российских городах: Екатеринбурге, Санкт-Петербурге, Казани, Краснодаре, Новосибирске, Омске, Ростове-на-Дону и Самаре. Как показало исследование, в этом году самая плохая ситуация на дорогах наблюдается в Екатеринбурге: по величине пробок этот город уже догнал Москву, по крайней
Японские бренды продолжают лидировать по надежности

Японские бренды продолжают лидировать по надежности

В очередной раз первые три места достались японским брендам Lexus, Toyota и Acura. Однако не все японские марки отличились стабильным качеством. Subaru, Scion и Nissan сдали несколько позиций. Подтянулись немецкие марки. Так, впервые за все время публикации рейтинга на четвертое место поднялась Audi. Модели Audi A6, A6 Allroad и Q7 специалисты
В США разработали робота-заправщика для бензоколонок

В США разработали робота-заправщика для бензоколонок

Американским водителям скоро подарят возможность не пачкать руки при заправке машины. Компании Husky и Fuelmatics представили автоматический заправщик. Первая фирма занимается разработкой оборудования для заправочных станций, вторая продвигает идею создания сети роботизированных АЗС. Устройство умеет само открывать крышку лючка бензобака и
Дизельный Golf преодолел 1600 километров на одном баке

Дизельный Golf преодолел 1600 километров на одном баке

Хэтчбек Volkswagen Golf TDI BlueMotion проехал 1602 километра по маршруту из Нанта (Франция) в Копенгаген (Дания) на одном баке топлива. Пробег для демонстрации самой экономичной модификации «Гольфа» автопроизводитель провел при участии немецкой компании DEKRA, занимающейся независимыми экспертизами. Стандартный 50-литровый бак «Гольфа» был
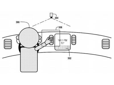
Google научит автомобили понимать жесты

Google научит автомобили понимать жесты

Компания Google подала в Патентную палату США заявку на регистрацию технологии жестового управления различными системами автомобиля. Модуль для распознавания жестов состоит из двух компонентов: 3D-камеры, расположенной в потолке салона, и лазерного сканера. Первая использует так называемый метод времени пролета (time-of-flight), основанный на
Назад 1 ... 10 11 12 13 14 15 16 17 18 ... 24 Лучший сайт где можно скачать программы бесплатно и быстро Дальше